T Shape Connection Column
Ssef Fun Is In The Details Structural Shapes
2
Design Of Compression Members
T Beam Wikipedia
Column Wikipedia
Types Of Steel Beam Connections And Their Details
A crank beam is an angled beam with two kinks, which makes a 90degree angle Main function of this beam is to support roof structures due to their shape Added to this, full penetration welds are used for these connections to carry the load.
T shape connection column. Learn how to identify the Standard Structural Steel Families and see the list of such families that you can use to place steel connections Structural connections can be placed on both standard and custom structural families To learn the difference between standard and custom steel framing families, see About Standard Structural Steel Framing Families. Connection designs beyond the scope of the tables in the AISC Manual These design examples are intended to demonstrate an approach to the design, and are not intended to suggest that the approach presented is the only Example E1A WShape Column Design with Pinned Ends E4 Example E1B WShape Column Design with Intermediate Bracing. Versatile utility straps, available in a range of sizes for various T and Lshaped connections.
Reliably create permanent connections between fused silica analytical columns, guard columns, and retention gaps SilTite FingerTite technology provides easy installation and a permanent leaktight connection Deactivated metal and zerodeadvolume design ensure optimal peak shapes. Figure 313—Column splice with change in column size column and are usually connected on top of the columns with CAP PLATES (bearing connections), as shown in figure 314 An alternate method. Groove weld sizes for welds in T, Y, and Kconnections in tubular members are shown in Table 36 24 Fillet Welds 241 Effective Throat 2411 Calculation The effective throat shall be the shortest distance from the joint root to the weld face of the diagrammatic weld (see Annex I).
In this study, a new yielding damper in the beamtocolumn connections called Tshaped slit damper or TSSD is proposed A comparison of performance characteristics of models is presented The TSSD connections can supply the highest initial stiffness and bearing capacity increases by 63% and 94%, respectively. In this type of connection, steel beams are linked to supporting elements whether it is steel girders or columns with web connection angle as seen in Figure3 Fig3 Bolted Framed Steel Beam Connection Commonly, the connection is designed based on the loads at the end of the beam It is required to take strength, type and size of fasteners. Figure 313—Column splice with change in column size column and are usually connected on top of the columns with CAP PLATES (bearing connections), as shown in figure 314 An alternate method.
Solid Columns Design of solid columns is addressed in Section 37 of the NDS The main difference between solid column and builtup column capacity is in the calculation of C p, the column stability factor The column stability factor adjusts for the buckling effect on the column capacity. The axial compressive performance of novel Lshaped and Tshaped concretefilled square steel tube (L/TCFSST) column was assessed in this study Ten L/TCFSST columns were tested to failure under axial load The experimental data were used to determine various failure modes, bearing capacities, and loaddisplacement curves The test parameters included the section form, steel tube thickness. Now you know about the seven most used profiling shapes for beams.
Hence we call them T shape Structural Tee is a common notation used in AISC Steel Construction Manual for this type of section This section is usually split from standard Ishapes by removing the bottom flange. Get this reinforced concrete T shaped column reinforcement set of details in dwg, dxf and pdf formats, use it in all your projects and save yourself valuable. W ⳱ leg size of fillet weld or groove weld reinforcement, if used, in t p ⳱ endplate thickness, in d c ⳱ column depth, in Note that, from LRFD Specification Commentary Section K14, for.
Get this reinforced concrete T shaped column reinforcement set of details in dwg, dxf and pdf formats, use it in all your projects and save yourself valuable. Connection designs beyond the scope of the tables in the AISC Manual These design examples are intended to demonstrate an approach to the design, and are not intended to suggest that the approach presented is the only Example E1A WShape Column Design with Pinned Ends E4 Example E1B WShape Column Design with Intermediate Bracing. Earthquake Damage Evaluation of TShaped SRC Composite ColumnSteel Beams in 3D Connection Joints JJ Xu, ZP Chen, YL Chen, and JY Xue Advances in Structural Engineering 16 18 5 ,.
Request PDF Seismic performance of beam to column connections with Tshaped slit dampers In this paper, a new steel yielding damper in the beamtocolumn connections relying on the combination. Download Citation Seismic response of edge slabcolumn connection with Tshaped column Two largescale edge slabcolumn connections with Tshaped columns were tested under combined gravity and. Avoid splits, notching, and net section issues in connection solutions • Be able to recommend fastening guidelines for wood to steel, wood to concrete, and wood to wood connections 3 to concrete, and wood to wood connections • Be able to describe effects of moisture on wood connections and.
Beam to steel tube column endplate connection using Tshaped bolts was proposed • Connection with vertical slotted bolt holes had higher resistance than that with horizontal ones • Angular deviation of Thead had little influence on connection resistance • The installation gap had no effect on bending resistance in moment connection • Bending resistance can be improved by setting two Tshaped bolts in one slotted hole. BeambraceCFT (concretefilled tubular) column connections provide excellent performance in resisting seismic loads in highrisk areas However, the load transmission mechanism of this type of connection still remains unclear, and there is a lack of study on it Therefore, in this paper, the mechanical behavior of beambraceCFT column (BBC) connections penetrated by gusset plates was. " This is a shear connection since the single plate is fastened to the web of the beam " The bolts shown are in single shear " This connection can transfer a small amount of moment to the supporting member SHEAR 6 ShopWelded Single Plate FieldBolted Plate to Beam or Column Structural Steel Connections.
Angle connection beam to column (flange) Hi guys This situation is caused by the fact that in none of the section databases you declared in Job Preferences there is any T shape profile available (it is possible to use it as a seat profile therefore it has to be "accessible" Please add eg UK or European section database and then you. T Shape / Structural Tees The shape profile of this section looks similar to alphabet “T”;. INJECTOR or COLUMN is ActiveReversible adsorption of active compounds (OH, NH, SH) FLOW problem dead volume, obstruction, poor installation, or severe column contamination Miscellaneous overloading of PLOT columns, coelution, polarity mismatch between phase, solute or solvent, and some compounds always tail.
This connection is available for Eurocode 3 (EN ) and the Polish code PN90/B030 Columnbeam connection The following mutual positions of the column and the beam are adopted for the connection beam connected with the column flange beam connected with the column web For a connection with the column flange, you can define a onesided connection. The welded connection of the Tshape connector and beam flange can not only improve the panel zone bearing capacity, but are also easily repaired However, the mechanical performance of these new of unequaldepthbeamtocolumn joints has not been thoroughly examined Download Download highres image (258KB) Download Download fullsize image. Versatile utility straps, available in a range of sizes for various T and Lshaped connections.
We specialize in beautiful custom and stock steel timber connectors Browse our catalog of precisioncut gusset plates & steel connections to make your framing project beautiful and strong. Design Examples V141 AMERICAN INSTITUTE OF STEEL CONSTRUCTION II EXAMPLE IIA1 ALLBOLTED DOUBLEANGLE CONNECTION Given Select an allbolted doubleangle connection between an ASTM 92 W36 231 beam and an ASTM 92 W14 90 column flange to support the following beam end reactions RD = 375 kips RL = 113 kips Use windiameter ASTM A325N or F1852N bolts in standard holes and ASTM A36. The steel fabrication shape is executed using the asynchronous update process When you create a structural steel fabrication element, use a modifier or place a parametric cut or a detailed standard or custom connection on Revit beams, columns or braces, the geometrical shape of the beam, column or brace is replaced by the fabrication shape.
The invention relates to a holeexpanding type steel structure beam column node in short Tshaped steel connection The holeexpanding type steel structure beam column node comprises two pieces of short Tshaped steel, a steel column and an Hshaped steel beam of which the end is vertically connected to a flange plate of the steel column, wherein a web plate of the short Tshaped steel is. The focus of this research program is Tshaped CFT central column to steel frame beam connection 3 joints with strong columnsweak beams and 1 joint with strong beamsweak columns 12 scale specimens were tested under constant axial loads and cyclic horizontal loads Overall impact of axial force ratio and beam to column linear stiffness ratio on joint failure mechanism, hysteretic behavior. Right a bolted beam to beam connection, shear tab connection with notches Example 7 A bolted and welded column to beam connection, Welded Unreinforced Flangewelded Web (WUFW) moment connection with and without Reduced Beam Section (RBS) Learn more about beam connections?.
Avoid splits, notching, and net section issues in connection solutions • Be able to recommend fastening guidelines for wood to steel, wood to concrete, and wood to wood connections 3 to concrete, and wood to wood connections • Be able to describe effects of moisture on wood connections and. INJECTOR or COLUMN is ActiveReversible adsorption of active compounds (OH, NH, SH) FLOW problem dead volume, obstruction, poor installation, or severe column contamination Miscellaneous overloading of PLOT columns, coelution, polarity mismatch between phase, solute or solvent, and some compounds always tail. Connection Property Comparison between Shape Memory Alloy Connections and Previously T ested TStub Connections Specimen FS07 FS08 S1 S2 Beam section a W24 ⫻ 55 W24 ⫻ 55 W24 ⫻ 94 W24 ⫻ 55.
LShape Column Commonly, Lshaped column is utilized in the corners of the boundary wall and has similar characteristics of a rectangular or square column Fig 11 Lshaped column 11 TShape column It is utilized based on design requirements of a structure TShaped column is widely used in the construction of bridges. The axial compressive performance of novel Lshaped and Tshaped concretefilled square steel tube (L/TCFSST) column was assessed in this study Ten L/TCFSST columns were tested to failure under axial load The experimental data were used to determine various failure modes, bearing capacities, and loaddisplacement curves The test parameters included the section form, steel tube thickness. L Type ColumnThey are generally used in the corners of the boundary wall and has same features of a rectangular or square column These kind of columns are very less used T Type Column This kind of columns is used depending on design requirements and in the construction of bridges, etc This has same features of a rectangular or square column.
Angle connection beam to column (flange) Hi guys This situation is caused by the fact that in none of the section databases you declared in Job Preferences there is any T shape profile available (it is possible to use it as a seat profile therefore it has to be "accessible" Please add eg UK or European section database and then you. Solid Columns Design of solid columns is addressed in Section 37 of the NDS The main difference between solid column and builtup column capacity is in the calculation of C p, the column stability factor The column stability factor adjusts for the buckling effect on the column capacity. Flush end plate connections that are welded to the flanges and web of the beam are commonly used as nominally pinned connections, although they do possess some bending resistanceNormally the end plate is 10 mm to 12 mm thick for use with M bolts When used as moment connections, the end plate is thicker, typically 15 – mm, and is extended above the top flange to allow for welding of.
The pile foundation is made by a circular column because the drilling is made in a circular shape Also, these types of columns are used in bridge construction because of its excellent deflection resistance T – Shape Column Mostly TShape columns will be provided along with retaining wall or boundary wall based on the design requirement. Moment Connections — Types Continuous Beam at Column Splice • HSS column is interrupted at continuous beam • For lightly loaded columns, stiffener plates can be used to transfer axial forces • Heavy loads may require a split HSS on either side of the beam web • Beam flange should be wider than HSS Rectangular HSS may be required to. This paper proposed a new endplate connection for connecting the RC beams with special Tshaped columns Xu et al proposed a welded rectangular composite Tshaped (WRCT) CFST column, as shown in Fig 2a and tested 34 WRCT CFST columnsBased on the test results, a formula for determining the bearing capacity of axial compression was proposed.
Roof To Beam And Column To Beam Connections Download Scientific Diagram
Tutorial Shape And Combine Data In Power Bi Desktop Power Bi Microsoft Docs
Experimental Study On Mechanical Properties Of Laminated Bamboo Beam To Column Connections Sciencedirect
Pdf Seismic Design And Behavior Of Post Tensioned Steel Connections Including Effects Of A Composite Slab Semantic Scholar
Does Anyone Have Already Been Design Irregular Shape Column In Staad Ram Staad Opentower Forum Ram Staad Opentower Bentley Communities
Foundation
T Shaped Reinforced Concrete Column Details
Presentation On Reinforcing Detailing Of R C C Members
British Universal Columns And Beams
What Are Beams Columns In Structures
Beam Column An Overview Sciencedirect Topics
Pp Bme Hu Ar Article Download 110 7864
Pdf Retrofitting Of Moment Connection Of Double I Built Up Columns Using Trapezoidal Stiffeners
We Are All Scutoids A Brand New Shape Explained The New Yorker
Design And Experimental Testing Of The Bundled Glass Column Springerlink
Seismic Safety Of The Building Envelope Wbdg Whole Building Design Guide
Beam Column Web Connection C1 Support Tab
Displacement Based Design For Precast Concrete Frames With Not Emulative Connections Advances In Engineering
Different Types Of Columns In Construction Where When To Use
Pp Bme Hu Ar Article Download 110 7864
T Shaped Reinforced Concrete Column Details
Eccentric Compression Performance Of Slender L Shaped Column Composed Of Concrete Filled Steel Tubes Connected By Steel Linking Plates Sciencedirect
T Shaped Reinforced Concrete Column Details
What Are Beams Columns In Structures
Presentation On Reinforcing Detailing Of R C C Members
Matrix Diagrams What They Are And How To Use Them Lucidchart Blog
Types Of Column Designing Buildings Wiki
Arktec S A Software For Architecture Engineering And Construction
Cctqm5 50 Sdsg Column Cap Simpson Strong Tie
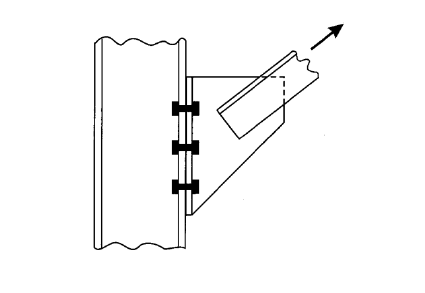
A Bracing Connection Is Required To Transfer An In Chegg Com
Http Www Nrcresearchpress Com Doi Pdf 10 1139 L95 080
Different Types Of Architectural Columns
Aisc Steel Connection Design Software Cisc S16 Steel Connection Design Software
Types Of Rcc Column And Its Construction Methods
Q Tbn And9gctrpsubk7gwqzlzrz1cfznsqsiezva6zqtoqlcyj8fn3xhtvduz Usqp Cau
Calculation Of Steel Connection Stiffness Reinvented Idea Statica
Different Types Of Columns In Construction Where When To Use
Solved Cven Structural Theory And Design Page 4 Of 7 Chegg Com
Hss Splices Steel Tube Institute
Beginner Concrete Construction In Revit Tutorial Beam Column Foundation Youtube
Different Types Of Architectural Columns
Q Tbn And9gcsaf0ytxfybpqsu1imyjxj6bmdpmm5vcvzmstjgssazlzghw4nl Usqp Cau
Simple Connections Steelconstruction Info
Csi Etabs16 Analysis And Design Of T Shape Column Section Youtube
Www Pci Org Pci Docs Publications Pci journal 1974 May June Embedded structural steel connections Pdf
Difference Between Short Column And Long Column What Is Column Types Of Column
Built Up Shape Weld Or Bolt Structural Engineering General Discussion Eng Tips
Experimental Study On The Seismic Performance Of L Shaped Column Composed Of Concrete Filled Steel Tubes Frame Structures Sciencedirect
Chapter 9 Column Analysis And Buckling In Long Slender Columns Is Due To The Following Eccentricities In Loading Irregularities In The Column Material Buckling Can Be Pdf Document
1
Pdf Retrofitting Of Moment Connection Of Double I Built Up Columns Using Trapezoidal Stiffeners
Beam To Column Framing Connections Tekla User Assistance
Presentation On Reinforcing Detailing Of R C C Members
Guide To Snowflakes
Microsoft Excel How To Link Text Boxes To Data Cells Journal Of Accountancy
Beam To Column Framing Connections Tekla User Assistance
T Shaped Reinforced Concrete Column Details
What Is Column End Conditions What Are Effective Lengths Of Columns Equivalent Lengths Of Columns For Various End Conditions
Difference Between Beam And Column What Is Beam What Is Column
Buckling Length Basics Enterfea
How To Unhide Columns In Google Sheets On Desktop Or Mobile
3 Effective Ways To Create Two Separate Columns In Your Word Document Data Recovery Blog
Pdf Formulation Of Equivalent Steel Section For Partially Encased Composite Column Under Concentric Gravity Loading Semantic Scholar
Ssef Fun Is In The Details Structural Shapes
5 Design Elements For Safe Heavy Duty Racking
Takuro Mori Timber Design Society
British Universal Columns And Beams
Solved Structural Connection Code Checking Steel Connections Column Foundation Autodesk Community Revit Products
Www Engr Mun Ca Adluri Courses Steel Ppt files1 Topic Connections Typical joints Pdf
Easy Mounting Curved Shape Aluminum Street Lighting Column For Square China Street Post Lighting Pole Made In China Com
Create Columns Of Text In A Text Box Or Shape In Powerpoint Office Support
Detailing Considerations American Institute Of Steel Construction
Q Tbn And9gcr6uoutyxmw750wdm0gtv5r8o0yg7pvialwbhzp23g13sibptgq Usqp Cau
Beam Column Joints Reinforcement Detailing Adequacy In Case Of A Corner Column Loss Numerical Analysis
Detailing Considerations American Institute Of Steel Construction
Simple Connections Steelconstruction Info
2
Foundation
Foundation
Beam Column Joints Reinforcement Detailing Adequacy In Case Of A Corner Column Loss Numerical Analysis
Buckling The Column Shown Below Is Made Of Astm A Chegg Com
Spotfire Label Hack Data Shop Talk
Www Engr Mun Ca Adluri Courses Steel Ppt files1 Topic Connections Typical joints Pdf
Beam Column Joints Reinforcement Detailing Adequacy In Case Of A Corner Column Loss Numerical Analysis
Built Up Shape Weld Or Bolt Structural Engineering General Discussion Eng Tips
Spcolumn Design Of Column Irregular Section T Shape Youtube
Chapter 9 Column Analysis And Buckling In Long Slender Columns Is Due To The Following Eccentricities In Loading Irregularities In The Column Material Buckling Can Be Pdf Document
Topcat Tool For Operations On Catalogues And Tables
Www Aisc Org Globalassets Aisc Hss Curved Steel Cidect Design Guide 9 Pdf
Compressive Behaviour And Design Of L Shaped Columns Fabricated Using Concrete Filled Steel Tubes Sciencedirect
Ssef Fun Is In The Details Structural Shapes
Www Engr Mun Ca Adluri Courses Steel Ppt files1 Topic Connections Typical joints Pdf
Anchor Bolt Wikipedia
Tutorial Shape And Combine Data In Power Bi Desktop Power Bi Microsoft Docs
A Bracing Connection Is Required To Transfer An In Chegg Com
Question 4 A Bracing Connection Is Required To Chegg Com
T Shape Hollow Core Wall Panel Machine For Wall Corner Joint Connection Solution View T Shape Wall Panel Extruder Victory Product Details From Henan Victory Industrial Co Ltd On Alibaba Com
Why Are I Beams Used In Structural Steel Construction


